基本信息
美能UF压力式膜组件使用的PVDF膜丝具有0.04μm的均匀孔径,保证了组件的过滤精度,确保产水水质合格、稳定。组件出厂前都经过了完整性试验,保证了组件在使用中安全、无泄漏。
压力式膜组件采用外压式设计,可以采用死端过滤或错流过滤方式运行,相对于内压式膜组件对于进水最大颗粒尺寸的限制以及进水悬浮物浓度的范围更大,大大降低了过滤流道被堵塞的风险或几率,可对高悬浮物污水直接过滤,进水适用范围更广。
美能UF压力式膜组件采用的聚偏氟乙烯(PVDF)膜丝具有化学稳定性好、柔软、耐污染性能好。膜组件设计有压缩空气接口,可以采用气洗与化学清洗的方法高效地清除膜丝表面的污染物,恢复膜的通量。
膜组件装填密度大,单位体积的过滤面积高,使组件更为简单紧凑,设备占用空间小,能使用少量的膜组件进行大水量处理,效率高。
可以根据客户需要建成固定式或移动式,系统可采用自动控制系统,实现全自动化操作。
规格参数表
6寸UF超滤规格

标识 | UF-0615E | UF-0615ED | UF-0620E | UF-0620ED |
L1(mm) | 1386 | 1386 | 1856 | 1856 |
L2(mm) | 172 | 172 | 172 | 172 |
L3(mm) | 1730 | 1730 | 2200 | 2200 |
L4(mm) | 130 | 130 | 130 | 130 |
R(mm) | 160 | 160 | 160 | 160 |
A | 备用口 | 进水口/排污口 | 备用口 | 进水口/排污口 |
B | 浓水口DN32 | 浓水口DN32 | 浓水口DN32 | 浓水口DN32 |
C1 | 产水口DN32 | 产水口DN32 | 产水口DN32 | 产水口DN32 |
C2 | 进水口/进气口/排污口DN32 | 产水口DN32 | 进水口/进气口/排污口DN32 | 产水口DN32 |
D(mm) | 无此口 | 进气口φ12/9.5 | 无此口 | 进气口φ12/9.5 |

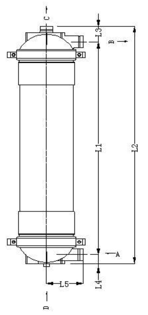
10寸UF超滤规格(图见右侧)
标识 | UF-1010E | UF-1015E |
L1(mm) | 1073 | 1606 |
L2(mm) | 1195 | 1730 |
L3(mm) | 76 | 76 |
L4(mm) | 44 | 44 |
L5(mm) | 172 | 172 |
R(mm) | 250 | 250 |
A | 进水口/排污口DN50 | 进水口/排污口DN50 |
C | 浓水口DN50 | 浓水口DN50 |
B | 产水口DN50 | 产水口DN50 |
D(mm) | 进气口φ25/19 | 进气口φ25/19 |
参数 | UF-0615E | UF-0615ED | UF-0620E | UF-0620ED | UF-1010E | UF-1015E | UF-1020E |
膜材料 | PVDF | PVDF | PVDF | PVDF | PVDF | PVDF | PVDF |
膜面积(m²) | 40 | 40 | 50 | 52 | 55 | 80 | 120 |
公称孔径 | 0.04 | 0.04 | 0.04 | 0.04 | 0.04 | 0.04 | 0.04 |
过滤方式 | 外压 | 外压 | 外压 | 外压 | 外压 | 外压 | 外压 |
壳体材料 | UPVC/ABS | UPVC/ABS | UPVC/ABS | UPVC/ABS | UPVC/ABS | UPVC/ABS | UPVC/ABS |
密封材料 | 环氧树脂/PU | 环氧树脂/PU | 环氧树脂/PU | 环氧树脂/PU | 环氧树脂/PU | 环氧树脂/PU | 环氧树脂/PU |
性内体积(L) | 15 | 15 | 20 | 20 | 25 | 40 | 55 |
润湿后重量(Kg) | 24 | 22 | 30 | 30 | 35 | 44 | 54 |
推荐应用
型号 | UF-0615E | UF-0615ED | UF-0620E | UF-0620ED | UF-1010E | UF-1015E |
膜面积 | 40 | 40 | 50 | 52 | 55 | 80 |
特点 | 单端产水,外置吹扫气,带标准配件,可预装成装置,进入集装箱。 | 单端产水,外置吹扫气,带标准配件,可预装成装置,进入集装箱。 | 单端产水,内置吹扫气,带标准配件,需现场装配。 | 双端产水,内置吹扫气,高标准配件,需现场装配。 | 单端产水,外置吹扫气,占地面积小,需现场装配。 | 双端产水,内置吹扫气,高标准配件,需现场装配。 |
推荐 | 适合有高度限制要求的项目 | 替代项目 | 首选通用型 | 替代项目 | 适合大型项目 | 通用型 |
参考通量
水源 | 建议通量(LMI) |
地下水及I、II类水源 | 60-120 |
河水及湖泊水库 | 50-80 |
海水 | 50-80 |
二沉池回用水 | 40-70 |
高浊水及工业废水 | 40-60 |
性能特点
高精度过滤与稳定产水
采用PVDF材质膜丝,均匀孔径0.04μm,可高效截留悬浮物、细菌及胶体,产水浊度稳定低于0.1 NTU,且组件通过完整性检测,无泄漏风险,保障水质安全。
耐污染与易维护性
膜丝化学稳定性强,耐受pH 2-12的化学清洗环境,支持气洗(压缩空气)与化学清洗结合,快速恢复膜通量,降低污染堵塞风险,延长使用寿命至5年以上。
灵活适配与高效运行
外压式设计兼容死端/错流过滤模式,进水悬浮物浓度容忍度高(可达200 mg/L),适用于高浊水直接处理;模块化结构紧凑,装填密度大,单位面积通量高,能耗较传统工艺降低30%。
智能化与便捷安装
支持全自动控制系统,配备预装式模块,可快速集成固定式或移动式装置,适配集装箱化部署,减少现场装配时间,尤其适合应急供水或大型项目需求。
应用领域
市政饮用水净化
用于地表水、地下水处理,去除微生物及颗粒物,满足直饮水标准,适用于农村集中供水或城市应急净水系统。
工业废水回用与零排放
在石化、印染、电子等行业中,深度处理高盐、高COD废水,实现资源化回用,降低排污成本,助力环保合规。
海水淡化预处理
作为反渗透(RO)系统前置屏障,有效截留胶体、有机物及微生物,减少RO膜污染,提升脱盐效率与整体系统稳定性。
生物医药分离纯化
用于发酵液澄清、蛋白浓缩及病毒截留,保障制药过程无菌化,符合GMP标准,适配高纯度生物制品生产需求。
该系列超滤膜以高性能材料、智能化设计及广泛适用性,成为水处理领域的核心解决方案,兼顾效率、成本与可持续性目标。
客户须知
华淼沁水处理经销出售美能全系列滤膜,确保膜组件都是原装全新正品,具备原厂检测报告和产品说明,同时提供系统的应用解决方案和售后维护。大力鼓励客户立足于人类健康和环境质量,确保美能产品不用于预定或测试用途之外的用途。我们可解答您的问题,并提供合理的技术支持。在使用美能产品之前,应先查看产品说明(包括注意事项)。华淼沁可提供最新的产品数据表,并致力于提高产品的使用周期和效益,降低客户运行成本。